sql查询不稳定,时快时慢,绑定执行计划之后还是会出现这种情况,分析原因

【 使用环境 】生产环境 or 测试环境
【 OB or 其他组件 】
【 使用版本 】observer-4.3.5.4
【问题描述】清晰明确描述问题
OCP提示存在慢sql:


表结构如下:
CREATE TABLE deal_order_real_name_pdf (
ORDER_ID varchar(80) COLLATE utf8mb4_bin DEFAULT NULL COMMENT ‘订单号’,
CREATE_TIME datetime(6) DEFAULT CURRENT_TIMESTAMP(6) COMMENT ‘创建时间’,
PDF_URL varchar(500) COLLATE utf8mb4_bin DEFAULT NULL COMMENT ‘协议pdf文件地址’,
EXT_SYSTEM varchar(100) COLLATE utf8mb4_bin DEFAULT NULL COMMENT ‘外系统编码’,
FILE_DATE varchar(80) COLLATE utf8mb4_bin DEFAULT NULL COMMENT ‘文件日期’,
FILE_TIME varchar(100) COLLATE utf8mb4_bin DEFAULT NULL COMMENT ‘文件修改时间’,
PDF_SOURCE varchar(10) COLLATE utf8mb4_bin DEFAULT ‘1’ COMMENT ‘s_dic type=’‘NEW_REAL_NAME_PDF_SOURCE’’:1.同步it服务器上的pdf文件;2.后台生产人员上传的pdf文件’,
HAS_JPG varchar(10) COLLATE utf8mb4_bin DEFAULT ‘0’ COMMENT ‘0无图片 1.有图片’,
HAS_ARCHIVE varchar(10) COLLATE utf8mb4_bin DEFAULT ‘0’ COMMENT ‘0.未归档 1.已归档’,
ARCHIVE_FILE varchar(500) COLLATE utf8mb4_bin DEFAULT NULL COMMENT ‘归档文件名’,
PATH_MOUNT varchar(200) COLLATE utf8mb4_bin DEFAULT NULL COMMENT ‘文件服务器绝对地址’,
UNIQUE KEY REAL_NAME_PDF_ORDER_ID (ORDER_ID) BLOCK_SIZE 16384 LOCAL,
KEY IX_DEAL_ORDER_REAL_NAME_PDF2 (CREATE_TIME, PDF_SOURCE, FILE_DATE) BLOCK_SIZE 16384 LOCAL,
KEY IX_DEAL_ORDER_REAL_NAME_PDF1 (PDF_SOURCE, FILE_DATE) BLOCK_SIZE 16384 LOCAL,
KEY REAL_NAME_PDF_CREATE_TIME (CREATE_TIME) BLOCK_SIZE 16384 LOCAL,
KEY REAL_NAME_PDF_FILE_DATE (FILE_DATE) BLOCK_SIZE 16384 LOCAL
) ORGANIZATION INDEX DEFAULT CHARSET = utf8mb4 COLLATE = utf8mb4_bin ROW_FORMAT = DYNAMIC COMPRESSION = ‘zstd_1.3.8’ REPLICA_NUM = 3 BLOCK_SIZE = 16384 USE_BLOOM_FILTER = FALSE ENABLE_MACRO_BLOCK_BLOOM_FILTER = FALSE TABLET_SIZE = 134217728 PCTFREE = 0
表的总行数是1.1亿,其中符合PDF_SOURCE = '1’的数据是107132216;
select count(distinct(PDF_SOURCE)),count(*) from DEAL_ORDER_REAL_NAME_PDF;
7 , 110773094
绑定执行计划如下:


本地多次测试发现根据部分条件查询到的结果存在跳变(直连observer节点多次查询,该节点是表的leader节点):


多次执行explain select CREATE_TIME from DEAL_ORDER_REAL_NAME_PDF where CREATE_TIME > NOW() - 7 and PDF_SOURCE = ‘1’; 发现 NOW() - 7 的过滤范围变成‘0000-00-00 00:00:00.000000’

问题描述:
发生上面这种情况的原因是什么?

【复现路径】问题出现前后相关操作
【附件及日志】推荐使用OceanBase敏捷诊断工具obdiag收集诊断信息,详情参见链接(右键跳转查看):

【SOP系列 22 】——故障诊断第一步(自助诊断和诊断信息收集)

【备注】基于 LLM 和开源文档 RAG 的论坛小助手已开放测试,在发帖时输入 [@论坛小助手] 即可召唤小助手,欢迎试用!

2 个赞

根据您的描述,SQL 查询出现不稳定,时快时慢的情况,即使绑定了执行计划,仍然存在这个问题。OCP 提示存在慢 SQL。针对这个问题,我们可以先从 SQL 性能问题的角度入手,通过 obdiag 工具来采集相关信息并进行根因分析。

推荐使用 obdiag 工具进行根因分析和日志采集,并且将采集到的日志提供给我们以便确认问题所在。
根因分析场景: SQL性能问题
根因分析命令: obdiag rca run --scene=sql_performance
日志采集场景: SQL性能问题
日志采集命令: obdiag gather scene run --scene=observer.perf_sql --env “{db_connect=’-h127.0.0.1 -P2881 -utest@test -p****** -Dtest’, trace_id=‘Yxx’}”

请替换上述命令中的 IP 地址、端口、用户名、密码、数据库名以及 trace_id(如果您有的话)为您实际情况。运行完上述命令后,您可以将生成的日志文件提供给我们,我们将根据日志进一步分析问题原因。

另外,为了确定具体的问题,在此需要您提供一些信息:

  1. 慢 SQL 的具体查询语句是什么?
  2. 您是否可以提供一个具体的 trace_id,以便我们更准确地定位问题?
  3. 是否有最近的系统变更或操作可能影响了 SQL 的性能?
  4. 表的数据量是多少?是否存在大量的数据倾斜?
  5. 服务器资源(如 CPU、内存、I/O)的使用情况如何?

谢谢!希望以上信息对您有所帮助。如果有任何疑问,欢迎随时联系我们。

附上敏捷诊断工具 obdiag 使用帮助链接

1 个赞

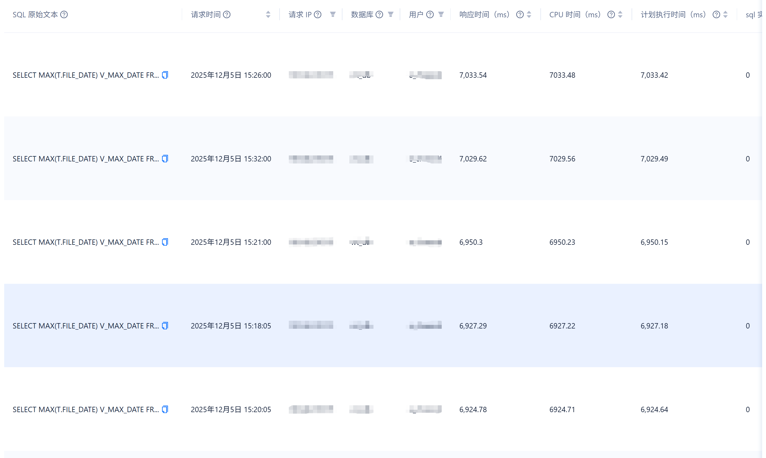
1.慢sql:SELECT MAX(T.FILE_DATE) V_MAX_DATE FROM DEAL_ORDER_REAL_NAME_PDF T WHERE T.PDF_SOURCE = ‘1’ AND T.CREATE_TIME > NOW() - 7;

2.trace_id如下:


3.没有系统变更和操作
4.单表,数据量1.1亿行,不存在数据倾斜
5.服务器资源平稳

obdiag 日志分析无法提供,稍后提供一下observer日志文件

1 个赞

deal_order_real_name_pdf这个表的数据提供几条
SHOW VARIABLES like ‘version_comment’;
使用obdiag收集一下这两次不一样的信息
– 方法一:通过sql_audit中获取trace_id
select query_sql,trace_id from oceanbase.GV$OB_SQL_AUDIT where query_sql like ‘xxx%’ order by REQUEST_TIME desc limit 5;
obdiag gather plan_monitor --trace_id YB420BA2D99B-0005EBBFC45D5A00-0-0 --env “{db_connect=’-hxx -Pxx -uxx -pxx -Dxx’}”
https://www.oceanbase.com/docs/common-obdiag-cn-1000000004494424

1 个赞

2.下面这两个trace_id的obdiag gather plan_monitor可以吗


1 个赞

应该不行 主要看看如图不一样的信息 如果能复现也可以取trace_id 这两个信息都是绑定outline以后执行的么?

1 个赞

[quote=“淇铭, post:6, topic:35635695”]
deal_order_real_name_pdf
obclient(root)[xx]> select * from deal_order_real_name_pdf limit 2\G
*************************** 1. row ***************************
ORDER_ID: 6900000000010xxxxx
CREATE_TIME: 2022-03-07 14:13:24.000000
PDF_URL: xxxxxffile/20xxxx7/xx/xxxxxxx00083.pdf
EXT_SYSTEM: 1xx00xx3
FILE_DATE: 20220307
FILE_TIME: NULL
PDF_SOURCE: 1
HAS_JPG: 1
HAS_ARCHIVE: 0
ARCHIVE_FILE: NULL
PATH_MOUNT: /xxh/axxxxxt_new
*************************** 2. row ***************************
ORDER_ID: xxxxxxxxx2475087
CREATE_TIME: 2022-03-07 14:13:26.000000
PDF_URL: xxxxxfile/xxxx/xx/xxxxxxxxx083.pdf
EXT_SYSTEM: 10xxxxxxx
FILE_DATE: 20220307
FILE_TIME: NULL
PDF_SOURCE: 1
HAS_JPG: 1
HAS_ARCHIVE: 0
ARCHIVE_FILE: NULL
PATH_MOUNT: /xxxa/xxxxxx_new
2 rows in set (0.015 sec)

1 个赞

都是绑定outline之后执行的,稍等我按照方法一取一下信息

1 个赞


这个查不到信息

1 个赞


看你对比是这个语句呀 不一样 先收集一下这个 或者你看看能不能复现 复现了收集一下

应该sql_audit的信息被清理了 这个语句可以直接执行 收集一下就可以

你直接在ocp上看一下 原先没有绑定outline的计划是不是没有走索引 截个图

1 个赞

目前看着你这个问题应该有两个
1、SELECT MAX(T.FILE_DATE) V_MAX_DATE FROM DEAL_ORDER_REAL_NAME_PDF T WHERE T.PDF_SOURCE = ‘1’ AND T.CREATE_TIME > NOW() - 7;没有绑定之前 这个语句的执行计划应该有问题
2、SELECT count(*) FROM DEAL_ORDER_REAL_NAME_PDF T WHERE T.PDF_SOURCE = ‘1’ AND T.CREATE_TIME > NOW() - 7;
多次查询 发现数据不一致




1 个赞

截图中的sql是单独过滤一下查询条件看下匹配到的数据有多少,发现匹配到的数据有问题;
没绑定outline截图如下:



1 个赞

收集好的文件发一下

1 个赞

obdiag_gather_pack.tar.zip (315.5 KB)

1 个赞

如果还需要别的,我晚上到家给您提供

1 个赞

学习666

1 个赞

从obdiag收集的信息来看 走的计划是一样的 你按照下面的步骤在取一下上面的这两种情况下xplan计划
/Proxy“保持”会话。/
SET TRANSACTION ISOLATION LEVEL READ COMMITTED;

/执行查询。/
select * from t1;

/使用 DBMS_XPLAN 包配合 sql_audit 查看上一个计划。/
select dbms_xplan.display_cursor(0, ‘all’);

1 个赞

1.执行时间快的信息采集
obclient()[]> SET session TRANSACTION ISOLATION LEVEL READ COMMITTED;
Query OK, 0 rows affected (0.014 sec)

obclient()[]> SELECT MAX(T.FILE_DATE) V_MAX_DATE FROM DEAL_ORDER_REAL_NAME_PDF T WHERE T.PDF_SOURCE = ‘1’ AND T.CREATE_TIME > NOW() - 7;
±-----------+
| V_MAX_DATE |
±-----------+
| 20251208 |
±-----------+
1 row in set (0.019 sec)

obclient()[]> select dbms_xplan.display_cursor(0, ‘all’);
±---------------------------------------------------------------------------------------------------------------------------------------------------------------------------------------------------------------------------------------------------------------------------------+
| dbms_xplan.display_cursor(0, ‘all’) |
±---------------------------------------------------------------------------------------------------------------------------------------------------------------------------------------------------------------------------------------------------------------------------------+
| ==========================================================================================================================================
|ID|OPERATOR |NAME |EST.ROWS|EST.TIME(us)|REAL.ROWS|REAL.TIME(us)|IO TIME(us)|CPU TIME(us)|

|0 |SCALAR GROUP BY | |1 |3 |1 |0 |0 |5 |
|1 |└─SUBPLAN SCAN |VIEW1 |1 |3 |1 |0 |0 |0 |
|2 | └─TOP-N SORT | |1 |3 |1 |0 |0 |50 |
|3 | └─TABLE RANGE SCAN|T(IX_DEAL_ORDER_REAL_NAME_PDF2,Reverse)|3 |3 |3 |0 |0 |132 |

Outputs & filters:

0 - output([T_FUN_MAX(VIEW1.T.FILE_DATE)]), filter(nil), rowset=16
group(nil), agg_func([T_FUN_MAX(VIEW1.T.FILE_DATE)])
1 - output([VIEW1.T.FILE_DATE]), filter(nil), rowset=16
access([VIEW1.T.FILE_DATE])
2 - output([T.FILE_DATE]), filter(nil), rowset=16
sort_keys([T.FILE_DATE, DESC]), topn(1)
3 - output([T.FILE_DATE]), filter([T.PDF_SOURCE = ‘1’], [T.FILE_DATE IS NOT NULL], [TOPN_FILTER(T.FILE_DATE)]), rowset=16
access([T.PDF_SOURCE], [T.FILE_DATE]), partitions(p0)
is_index_back=false, is_global_index=false, filter_before_indexback[false,false,false],
range_key([T.CREATE_TIME], [T.PDF_SOURCE], [T.FILE_DATE], [T.__pk_increment]), range(2025-12-08 10:48:20.000000,MAX,MAX,MAX ; MAX,MAX,MAX,MAX),
range_cond([T.CREATE_TIME > cast(cast(current_timestamp(), DECIMAL(-1, 0)) + cast(-7, DECIMAL(4, 0)), MYSQL_DATETIME(-1, -1))])

Used Hint:

/*+

*/
Qb name trace:

stmt_id:0, SEL$1 > SEL$80EFE16F
stmt_id:1, parent:SEL$1 > SEL$25134416

Outline Data:

/*+
BEGIN_OUTLINE_DATA
INDEX_DESC(@“SEL$25134416” “T”@“SEL$1” “IX_DEAL_ORDER_REAL_NAME_PDF2”)
FAST_MINMAX(@“SEL$1”)
OPTIMIZER_FEATURES_ENABLE(‘4.3.5.1’)
END_OUTLINE_DATA
*/
Optimization Info:

T:
table_rows:66716244
physical_range_rows:3
logical_range_rows:3
output_rows:3
table_dop:1
dop_method:Table DOP
avaiable_index_name:[IX_DEAL_ORDER_REAL_NAME_PDF2, IX_DEAL_ORDER_REAL_NAME_PDF1, REAL_NAME_PDF_CREATE_TIME, REAL_NAME_PDF_FILE_DATE, REAL_NAME_PDF_ORDER_ID, deal_order_real_name_pdf]
pruned_index_name:[REAL_NAME_PDF_CREATE_TIME, REAL_NAME_PDF_FILE_DATE, REAL_NAME_PDF_ORDER_ID, deal_order_real_name_pdf]
stats info:[version=2025-11-21 22:39:36.033840, is_locked=0, is_expired=0]
dynamic sampling level:0
estimation method:[OPTIMIZER STATISTICS, STORAGE]

Plan Type:
LOCAL

Parameters:
:0 => ‘1’
:1 => -7

Note:
Degree of Parallelisim is 1 because of table property

|
±---------------------------------------------------------------------------------------------------------------------------------------------------------------------------------------------------------------------------------------------------------------------------------+
1 row in set (0.017 sec)

2.执行时间慢的信息采集
obclient()[]> SELECT MAX(T.FILE_DATE) V_MAX_DATE FROM DEAL_ORDER_REAL_NAME_PDF T WHERE T.PDF_SOURCE = ‘1’ AND T.CREATE_TIME > NOW() - 7;
±-----------+
| V_MAX_DATE |
±-----------+
| 20251208 |
±-----------+
1 row in set (7.184 sec)

obclient()[]> select dbms_xplan.display_cursor(0, ‘all’);
±---------------------------------------------------------------------------------------------------------------------------------------------------------------------------------------------------------------------------------------------------------------------------------+
| dbms_xplan.display_cursor(0, ‘all’) |
±---------------------------------------------------------------------------------------------------------------------------------------------------------------------------------------------------------------------------------------------------------------------------------+
| ==========================================================================================================================================
|ID|OPERATOR |NAME |EST.ROWS|EST.TIME(us)|REAL.ROWS|REAL.TIME(us)|IO TIME(us)|CPU TIME(us)|

|0 |SCALAR GROUP BY | |1 |3 |1 |0 |0 |5 |
|1 |└─SUBPLAN SCAN |VIEW1 |1 |3 |1 |0 |0 |0 |
|2 | └─TOP-N SORT | |1 |3 |1 |0 |0 |50 |
|3 | └─TABLE RANGE SCAN|T(IX_DEAL_ORDER_REAL_NAME_PDF2,Reverse)|3 |3 |3 |0 |0 |132 |

Outputs & filters:

0 - output([T_FUN_MAX(VIEW1.T.FILE_DATE)]), filter(nil), rowset=16
group(nil), agg_func([T_FUN_MAX(VIEW1.T.FILE_DATE)])
1 - output([VIEW1.T.FILE_DATE]), filter(nil), rowset=16
access([VIEW1.T.FILE_DATE])
2 - output([T.FILE_DATE]), filter(nil), rowset=16
sort_keys([T.FILE_DATE, DESC]), topn(1)
3 - output([T.FILE_DATE]), filter([T.PDF_SOURCE = ‘1’], [T.FILE_DATE IS NOT NULL], [TOPN_FILTER(T.FILE_DATE)]), rowset=16
access([T.PDF_SOURCE], [T.FILE_DATE]), partitions(p0)
is_index_back=false, is_global_index=false, filter_before_indexback[false,false,false],
range_key([T.CREATE_TIME], [T.PDF_SOURCE], [T.FILE_DATE], [T.__pk_increment]), range(2025-12-08 10:48:20.000000,MAX,MAX,MAX ; MAX,MAX,MAX,MAX),
range_cond([T.CREATE_TIME > cast(cast(current_timestamp(), DECIMAL(-1, 0)) + cast(-7, DECIMAL(4, 0)), MYSQL_DATETIME(-1, -1))])

Used Hint:

/*+

*/
Qb name trace:

stmt_id:0, SEL$1 > SEL$80EFE16F
stmt_id:1, parent:SEL$1 > SEL$25134416

Outline Data:

/*+
BEGIN_OUTLINE_DATA
INDEX_DESC(@“SEL$25134416” “T”@“SEL$1” “IX_DEAL_ORDER_REAL_NAME_PDF2”)
FAST_MINMAX(@“SEL$1”)
OPTIMIZER_FEATURES_ENABLE(‘4.3.5.1’)
END_OUTLINE_DATA
*/
Optimization Info:

T:
table_rows:66716244
physical_range_rows:3
logical_range_rows:3
output_rows:3
table_dop:1
dop_method:Table DOP
avaiable_index_name:[IX_DEAL_ORDER_REAL_NAME_PDF2, IX_DEAL_ORDER_REAL_NAME_PDF1, REAL_NAME_PDF_CREATE_TIME, REAL_NAME_PDF_FILE_DATE, REAL_NAME_PDF_ORDER_ID, deal_order_real_name_pdf]
pruned_index_name:[REAL_NAME_PDF_CREATE_TIME, REAL_NAME_PDF_FILE_DATE, REAL_NAME_PDF_ORDER_ID, deal_order_real_name_pdf]
stats info:[version=2025-11-21 22:39:36.033840, is_locked=0, is_expired=0]
dynamic sampling level:0
estimation method:[OPTIMIZER STATISTICS, STORAGE]

Plan Type:
LOCAL

Parameters:
:0 => ‘1’
:1 => -7

Note:
Degree of Parallelisim is 1 because of table property

|
±---------------------------------------------------------------------------------------------------------------------------------------------------------------------------------------------------------------------------------------------------------------------------------+
1 row in set (0.016 sec)

1 个赞

执行过程计划不是太准确啊